특허권

철도차량용 구동기어 조립체 무부하 시험장치

상품번호 2025061002495380
출원번호 10-2020-0028818
등록번호 10-2332946
출원인 한국철도공사
판매가 0원
 

꼭 읽어보세요!

기술거래는 양방향 경매방식으로 이루어집니다.

기술을 매수한 당사자는 거래금액의 전부 혹은 10퍼센트(%)를 당일 본원에 입금하여야 하며, 10% 나머지 잔금은 거래일로부터 2일 이내(거래일 익일)에 납부하여야 합니다. 만약 위 지정 기간내에 매수자가 입금하지 않으면 거래는 무효가 되며, 잔금도 기한내에 입금되지 않으면 매도자로 귀속됩니다. 이는 매도자의 기한의 이익상실을 보장함 입니다.

기술거래의 수수료는 기술의 이전 및 사업화 촉진에 관한 법률 시행규칙 산업통상자원부령 제48호 의거 기술이전 금액의 13퍼센트∼기술이전 금액의 17.5퍼센트로 되어있지만, 본 거래사이트에서는 매도‧매수인 각각 10%로 합니다.
이때 매수인의 매수금액(당사로 입금되는 금액)에서 수수료 각각10% 인 20%를 공제한 후 매도인에게 계좌이체를 하여야 합니다.
또한 권리이전(특허)비용은 기술양수인(매수자)부담이며 그 비용은 별도입니다.

 
본 발명은 철도차량용 구동기어 조립체 무부하 시험장치에 관한 것으로서, 특히, 견인전동기 정비 후 구동기어와 피니언 기어를 현차 상태와 같이 조립된 상태에서 속도, 온도, 진동과 같은 이상 유무를 측정할 수 있도록 하는 철도차량용 구동기어 조립체 무부하 시험장치에 관한 것이다.

본 발명은 철도차량용 구동기어 조립체 무부하 시험장치에 관한 것으로서, 특히, 견인전동기 정비 후 구동기어와

피니언 기어를 현차 상태와 같이 조립된 상태에서 속도, 온도, 진동과 같은 이상 유무를 측정할 수 있도록 하는

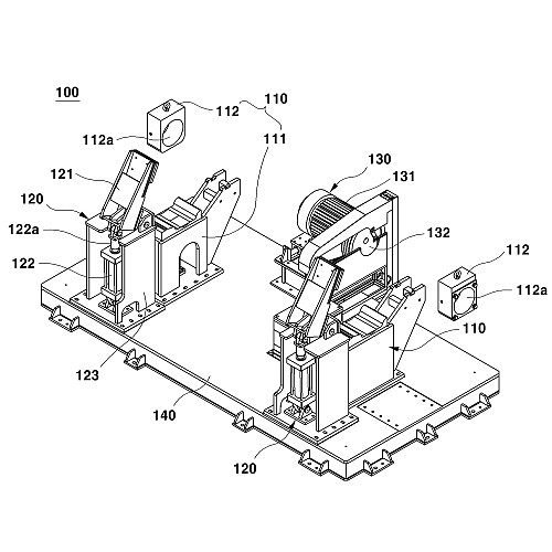
철도차량용 구동기어 조립체 무부하 시험장치에 관한 것이다. 구성은 철도차량용 구동기어 조립체 무부하 시험장치로서, 윤축과 상기 윤축의 양단에 형성되는 제1 기어유닛과 윤축에 끼워지는 대기어와 치결합되는 소기어로

이루어지는 제2 기어유닛을 포함하는 구동기어 조립체를 안전하게 안착시킬 수 있도록 상호 간격을 두고 형성되

는 지지프레임과, 상기 각 지지프레임의 상면에 형성되며 중앙에 윤축 수용홀이 형성되고 상기 윤축 수용홀의

내측으로는 부시와 베어링이 형성되는 윤축 고정지그로 이루어지는 구동기어 조립체 안착부와; 상기 구동기어

조립체 안착부의 일측에 형성되어 상기 구동기어 조립체 안착부를 통해 안착되는 구동기어 조립체의 흔들림을

방지하도록 회전동작에 의해 개폐되는 고정덮개와, 상기 고정덮개와 결합되어 신축동작하는 피스톤 로드를 갖는

실린더로 이루어지는 구동기어 조립체 고정수단과; 상기 구동기어 조립체 안착부의 타 일측에 형성되어 윤축의

양단에 형성되는 제1 기어유닛과, 상기 제1 기어유닛의 내측으로 형성되는 차륜과, 상기 차륜의 내측에 형성되

는 제2 기어유닛을 포함하는 구동기어 조립체를 회전시키도록 동력을 제공하는 전동기와 상기 전동기의 축에 결

합되는 원동풀리와 기어박스의 기어 축에 결합되는 종동풀리를 포함하여 이루어지는 구동수단; 을 포함한다.

등록된 상품문의

  • 상품문의가 없습니다.

등록된 사용후기

  • 사용후기가 없습니다.