특허권

선박용 배기가스 처리시스템

상품번호 2025061002444827
출원번호 10-2023-0018793
등록번호 10-2542321
출원인 한국해양교통안전공단
판매가 0원
 

꼭 읽어보세요!

기술거래는 양방향 경매방식으로 이루어집니다.

기술을 매수한 당사자는 거래금액의 전부 혹은 10퍼센트(%)를 당일 본원에 입금하여야 하며, 10% 나머지 잔금은 거래일로부터 2일 이내(거래일 익일)에 납부하여야 합니다. 만약 위 지정 기간내에 매수자가 입금하지 않으면 거래는 무효가 되며, 잔금도 기한내에 입금되지 않으면 매도자로 귀속됩니다. 이는 매도자의 기한의 이익상실을 보장함 입니다.

기술거래의 수수료는 기술의 이전 및 사업화 촉진에 관한 법률 시행규칙 산업통상자원부령 제48호 의거 기술이전 금액의 13퍼센트∼기술이전 금액의 17.5퍼센트로 되어있지만, 본 거래사이트에서는 매도‧매수인 각각 10%로 합니다.
이때 매수인의 매수금액(당사로 입금되는 금액)에서 수수료 각각10% 인 20%를 공제한 후 매도인에게 계좌이체를 하여야 합니다.
또한 권리이전(특허)비용은 기술양수인(매수자)부담이며 그 비용은 별도입니다.

 
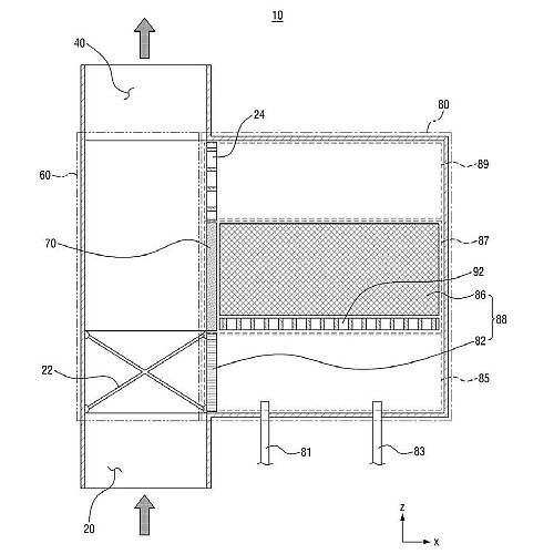
본 발명은 강화되는 해양환경 오염규제에 따라 배출되는 가스의 배기정화장치의 설치가 의무화되고 있으나 정작설치에 필요한 공간이 부족한 소형선박에서 효과적으로 유로를 구성하여 공간효율성을 극대화할 수 있는 선박용 배기가스 처리시스템 및 그 운전방법에 관한 것이다.

선박은 상대적으로 낮은 비용으로 대량의 물품을 운송할 수 있으며, 따라서 국가 간의 수출입 물동량을 상당부

분은 선박을 이용하고 있다.

선박은 중유 등을 원료로 내연기관을 동작하여 항로 및 항만의 대기오염에 심각한 영향을 미치고 있어 이에 대

한 다양한 규제가 도입되고 있는 상황이다. 예를 들어, 국제 해사기구(IMO)에서는 선박이 배출하는 질소산화물

(NOx)에 대한 배출량 규제를 계획에 따라 점진적으로 엄격하게 진행하고 있는 상황이다.

주로 연안어업과 화물운송 등에 사용되는 소형선박은 항만 및 항만 인근의 직접적인 오염 배출원으로 지목되고

있어, 오염물질 배출 총량을 규제하는 추세에 따라 소형선박에도 적절한 배기가스 처리시스템의 설치가 요구되

고 있다.

배기가스 처리시스템의 설치를 위해서는 엔진 룸 등에 일정 정도 이상의 설치공간이 필요하나 소형선박의 경우

설치공간을 확보하기 여의치 않은 상황이어서 설치공간을 최적화한 배기가스 처리시스템이 필요한 실정이다.

또한, 선박의 운용 상황에 따라 동작을 최적화함으로써 운영 효율을 극대화할 수 있는 배기가스 처리시스템이

필요한 실정이다.

등록된 상품문의

  • 상품문의가 없습니다.

등록된 사용후기

  • 사용후기가 없습니다.