특허권

선박용 배기가스 처리시스템 및 그 운전방법

상품번호 2025061002300480
출원번호 10-2022-0061173
등록번호 10-2450817
출원인 한국해양교통안전공단
판매가 0원
 

꼭 읽어보세요!

기술거래는 양방향 경매방식으로 이루어집니다.

기술을 매수한 당사자는 거래금액의 전부 혹은 10퍼센트(%)를 당일 본원에 입금하여야 하며, 10% 나머지 잔금은 거래일로부터 2일 이내(거래일 익일)에 납부하여야 합니다. 만약 위 지정 기간내에 매수자가 입금하지 않으면 거래는 무효가 되며, 잔금도 기한내에 입금되지 않으면 매도자로 귀속됩니다. 이는 매도자의 기한의 이익상실을 보장함 입니다.

기술거래의 수수료는 기술의 이전 및 사업화 촉진에 관한 법률 시행규칙 산업통상자원부령 제48호 의거 기술이전 금액의 13퍼센트∼기술이전 금액의 17.5퍼센트로 되어있지만, 본 거래사이트에서는 매도‧매수인 각각 10%로 합니다.
이때 매수인의 매수금액(당사로 입금되는 금액)에서 수수료 각각10% 인 20%를 공제한 후 매도인에게 계좌이체를 하여야 합니다.
또한 권리이전(특허)비용은 기술양수인(매수자)부담이며 그 비용은 별도입니다.

 
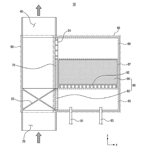
선박용 배기가스 처리시스템 및 그 운전방법이 개시된다. 본 발명의 선박용 배기가스 처리시스템 및 그 운전방법은, 소형선박의 기관에서 배출되는 가스의 유입로; 상기 유입로 말단의 분기에서 연장되되, 어느 하나가 다른 하나보다 유로의 길이가 짧은 제1,2 유로; 상기 제1 유로 상에 배치된 복수의 배기정화장치; 상기 제1,2 유로 중적어도 하나를 통과한 상기 가스가 통과하여 배출되도록 상기 1,2 유로의 말단에서 합류되어 연장된 유출로; 및 상기 가스가 상기 제1,2 유로 중 적어도 어느 하나로 흐르도록 적어도 제어하는 제어부를 포함하되, 상기 제1 유 로는, 상기 제2 유로보다 상기 유로의 길이가 길며, 상기 제2 유로에서 상기 가스가 흐르는 방향과 다른 방향으로 상기 가스가 흐르도록 하는 복수의 우회경로를 포함하고, 상기 제2 유로는, 상기 제1 유로보다 상기 유로의 길이가 짧으며, 상기 유입로 및 상기 유출로에서 상기 가스가 흐르는 방향과 나란한 방향으로 상기 가스가 흐르도록 하는 직선경로를 가지며, 상기 제1유로와 상기 제2유로는, 상기 제1,2 유로를 구성하는 벽면 중 적어도 일부를 공유하는 것을 특징으로 한다. 본 발명에 의하면, 강화되는 해양환경 오염규제에 따라 배출되는 가스의 배기정화장치의 설치가 의무화되고 있으나 정작 설치에 필요한 공간이 부족한 소형선박에서 효과적으로 유로를 구성하여 공간효율성을 극대화할 수 있다.

본 발명은 강화되는 해양환경 오염규제에 따라 배출되는 가스의 배기정화장치의 설치가 의무화되고 있으나 정작 설치에 필요한 공간이 부족한 소형선박에서 효과적으로 유로를 구성하여 공간효율성을 극대화할 수 있는 선박용 배기가스 처리시스템 및 그 운전방법에 관한 것이다.

등록된 상품문의

  • 상품문의가 없습니다.

등록된 사용후기

  • 사용후기가 없습니다.